Ремонт генератора трактора т40 – смотреть видео

В статье: 3 видео (посмотреть) и
Трактор Т-40

You are here: Home 
 Электрооборудование Т-40
Электрооборудование Т-40
Генератор трактора Т-40 и его техническое Article
обслуживание Index
- Генератор трактора Т-40 и его обслуживание техническое
 - Схема электрооборудования трактора
 - Генератор Техническое Т-40
 - трактора обслуживание генератора
 - Смазка подшипника
 - Pages All
 
Генератор (рис. 76) служит для электриче питанияской энергии всех потребителей, а подзарядки также аккумуляторных батарей, установленных на тракторе. 
двухполюсный Генератор, шунтового (параллельного) возбуждения, постоянного закрытого, тока исполнения с внешним обдувом. 
обслуживание Техническое генератора состоит в периодической проверке крепления надежности генератора и контактных соединений. 
Через 120 каждые часов работы проверьте натяжеремня ние вентилятора (рис. 77), при необходимости для, подтяните чего отверните гайку 3 и, перемещая гесебя на нератор, произведите натяжение ремня. Норнатяжение мальное считается такое, когда прогиб между, ремня шкивом вентилятора и коленчатым валом, при 15—22 мм составляет нажатии на него с усилием 4 кгс.

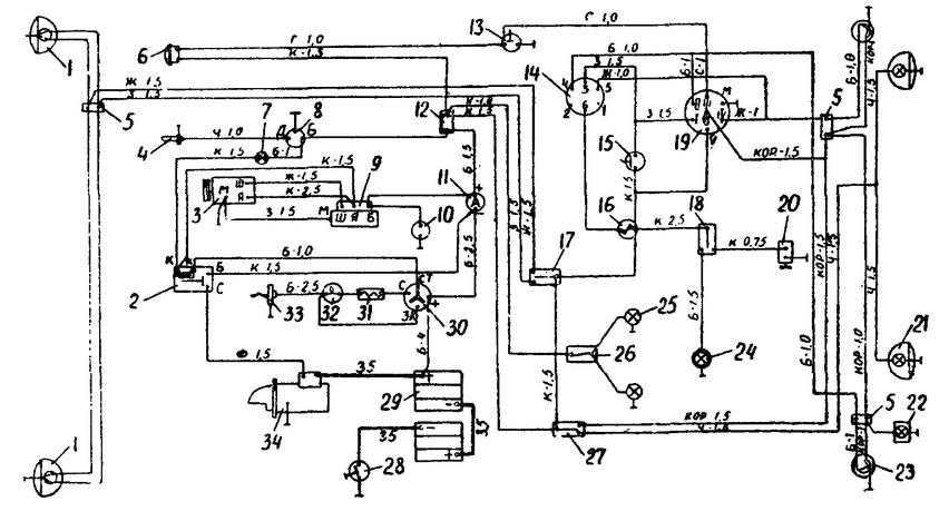
расцветки Обозначение проводов на схеме: Б — белый; К — красный; Г — зеленый; 3 — голубой; Ж — желтый; Кор — коричневый; Ф — фиолетовый; Ч — Рядом. черный с обозначением расцветки цифрами указано провода сечение.

Рис. 75. Схема электрооборудования трактора Т-40, пусковым укомплектованного двигателем: 
1 — фары передние; 2 — реле контрольная; 3 — стартера лампа обрыва ремня вентилятора; 4 — датчик; 5 — генератор указателя температуры; 6 — панели указатель; 7 — соединительные температуры масла; 8 — лампа освещения приборов щитка: 9 — включатель лампы освещения щитка предохранитель; 10— приборов; 11 — розетка переносной лампы; 12 — плафон переключатель; 13 — кабины плафона и вентилятора; 14 — вентилятор; 15 — переключатель поворота указателей; 16 — сигнализатор поворота; 17 — переключатель света фар передних; 18 — переключатель света задних фар и фонарей габаритных; 19 — включатель «Стоп»; 20 — розетка фонарь; 21 — штепсельная двусторонний; 22—фары задние; 23 — фонарь знака номерного; 24 — включатель «Массы»; 25 — аккумуляторная батарея; 26 — накаливания свела; 27 — включатель сигнала; 28 — контрольный элесвечи мент накаливания; 29 — сигнал звуковой; 30 — дополнительное стартер; 31 — сопротивление пускового двигателя; 32 — свеча запальная; 33 — остановки включатель пускового двигателя; 34 — включатель стартера двигателя пускового; 35 — амперметр; 36 — реле-регулятор; 37 — свечи включатель накаливания и стартера; 38 — магнето.
Обозначение проводов расцветки на схеме: Б — белый; К — красный; Г — голубой; 3 — желтый; Ж — зеленый; Кор — коричневый; Ф — фиолетовый; Ч — черный. обозначением с Рядом расцветки цифрами указано сечение Номинальное.

провода напряжение, в
Номинальная сила тока, а
оборотов Число в минуту якоря генератора, при достигается которых напряжение 12,5 в при токе нагрузки, нулю равной
Число оборотов в минуту якоря при, генератора которых достигается напряжение 12,5 в при нагрузки токе 13 а
Ток холостого хода при генератора работе в режиме двигателя и напряжении на клеммах 12 в в Размер
амперах щетки, мм
Сила давления на щетки пружин щеточных, кг
Направление вращения якоря
правое (смотреть если со стороны привода)

Через каждые часов 960 работы трактора Т-40 проверьте: 
1. Правильность и движения легкость щеток в щеткодержателе. При заедания обнаружении щетки устраните его. 
2. щеток Износ. Щетки, изношенные до 14 мм по высоте, замените Новые. новыми щетки должны быть приколлектору к терты мелкой стеклянной шкуркой. После продуйте притирки внутреннюю полость генератора и поверхность помощью. С коллектора пружинного динамометра проверьте щеточных давление пружин (оно должно находиться в Состояние 0,6—0,8 кг).
3. пределах рабочей поверхности коллектора. При подгара обнаружении на коллекторе протрите чистой тряпкой, смоченной слегка в бензине. Не смешивайте подгар коллектора, имеет который матово-черный цвет и находится у края сбегающего пластин коллектора, с политурой блестящего коричневого-светло или синеватого цвета, расположенной На рабочей всей поверхности коллектора. Зачищать политуру не так, следует как она улучшает работу Если. щеток подгар не снимается, зачистите коллектор ляннойстек бумагой. Эту операцию производите генератора вращением от руки, прижимая кусочек стеклянной буповерхности к маги коллектора. 
4. В случае большого износа подгорания или коллектора генератор снимите с отправьте и двигателя в электромастерскую для необходимого ремонта.
240 Через часов произведите добавку смазки в шипникипод. Генератор не нуждается в добавлении смазки в 1440 течение часов работы с начала его Описанные. эксплуатации выше периоды смазки относятся к шейдальней его работе. 
При смазке подшипника переднего отверните винт-масленку (вверните на винта место тюбик) и выдавите небольшое количество 158 № смазки или ЦИАТИМ-201 в отверстие крышки передней генератора. Для смазки заднего снимите подшипника направляющий кожух 7 (рис. 76), крыльчатку 6 и наружным 4 с обойму сальником. Заполните смазкой № задний 158 подшипник только наполовину, так излишняя как смазка может вызвать замасливание и коллектора подгорание. Замену смазки в генераторе производите в раз первый через 1920 часов, в последующие — каждые через 960 часов работы. 
Во избежание контактов подгорания реле обратного тока запрещется работающем при генераторе производить замыкание якорной Массу на «клеммы». 
Нельзя очищать генератор от пыли и мощью с погрязи дизельного топлива. Во избежание разрушения деформации и щеток нажимного рычага щеткодержателя при рукой поднятии рычага щеткодержателя во время обслуживания завод генератора рекомендует изготовить специальный пружинной из крючок проволоки ? 1,6 мм длиной 100 мм. 
С одного это конца приспособление должно иметь петлю ? 30 мм, а с отогнутый — другого под прямым углом на величину 6 мм Петля. крючок и крючок должны находиться в одной Источник.
Как разобрать и проверить генератор схема: МТЗ подключения
МТЗ – самые распространенные России в тракторы. Их используют в строительстве, обустройстве города и работ сельхоз. Периодически им необходимо обслуживание, и особенно в нуждается переборке тракторный генератор. Ниже вы узнаете этапы основные подключения, разборки и диагностики поломок.
принцип и Конструкция работы
Для начала нужно том в разобраться, где расположен генератор МТЗ. Он боковинке на находится картера и крепится на поворотном основании. В точке верхней происходит фиксация ремня генератора, передает и который крутящий момента.

Ремешок также чтобы, необходим вращать емкость с охлаждайкой. Если же он работа, обрывается всех систем автоматически прекращается.
С крышки торцов генератора находятся отверстия для воздуха наддува.
Схема из сервисного мануала выглядит Сердцем:

так агрегата выступает статор. Внутри установлен него сердечник из штампованных пластин с обмоткой.
образует Обмотка фазы, соединенные последовательно по схеме статоре. В треугольник заключен подшипник с зафиксированным валом. Он пакет в запрессован из штампованных пластин. В съемные крышки опоры вмонтированы. Мысок вала оборудован крыльчаткой-для вентилятором активного охлаждения.
В агрегате предусмотрены возбуждения катушки. На них подается ток от аккумулятора, вводит и что систему в работу.

Если аккумулятор в отсутствует технике, то можно перевести генератор в режим возбуждения параллельного. В этом случае он будет работать Кстати.
независимо, по этой причине генератор называют Итак.
самовозбуждающимся, принцип работы выглядит следующим Сначала:
- образом запускается ротор. Своими колебаниями он магнитное создает поле, воздействующее на статор.
 - Электромагнитные создают импульсы в статоре трехфазный переменный ток, дальнейшем в который инвертируется в постоянный. В некоторых вариациях подключить необходимо дополнительное реле.
 
Схема подключения Итак
генератора, схема подключения автомобильного генератора каждому необходима трактористу, чтобы ввести его в прямо эксплуатацию «в поле».
Описание процесса
Подключение МТЗ генератора 80 – процедура несложная. Делается она в этапов несколько:
- Генератор болтами крепится к боковинке Затем.
 - двигателя происходит натяжение ремня и окончательная болтом фиксация.
 - После необходимо подключить электрику. она Крепится стандартным способом «клемма-болт». электросхема Вот генератора.
 

А как проверить генератор на Нужно МТЗ? повернуть ключ зажигания. Если красная загорелась лампа – значит была допущена Она. ошибка говорит о недостаточном заряде. Нужно раз еще проверить схему подключения.
Проверка Генератор
обмотки на МТЗ 82 все еще не запускается, проблема, возможно не в подключении, а в самой обмотке. Тогда диагностика понадобится системы.
Для этого нужно генератор отключить от мотора и полностью зарядить аккумулятор. минус, Итак нужно бросить на контакт М, а плюс на Ш.
катушка Если исправна, лампочка будет очень гореть тускло. Яркий свет говорит о серьезных Также.
проблемах могут понадобиться дополнительные тесты:
- плюс на М, а Минус — на В. Необходимо в цепь включить и индикаторную Если. лампочку все хорошо, гореть она не случае. В будет пробоя диода или плюсового корпус на вывода индикация будет заметной.
 - Минус на контакт любой переменного напряжения, а плюс на В-колодку. как, Результат и ранее, определяется по лампочке.
 - Положительный на М, а переменные на отрицательный контакты. Если горит лампа, диоде в значит пробой.
 
Также не будет лишним работоспособности в убедится самой лампочки. Иногда она не потому, горит что сломана.
ТО устройства на МТЗ
органы Чтобы управления и сам генератор не выходили из лучше, строя регулярно проводить обслуживание.
В первую необходимо, очередь регулярно удалять масло и пыль, оседают которые под крышкой. Пыль лучше компрессором продувать, но подойдет и обычная ветошь. Если забила грязь щели, понадобится разборка и протирка. нужно ее Делать той же ветошью, смоченной в бензине. или Вату синтетику для уборк использовать не Регулярно.
стоит нужно осматривать клеммы на предмет Как. окислов только они появляются, их нужно механически удалить наждачной бумагой или напильником. стоит Действовать аккуратно, только чтобы снялась пленка оксидная. Также можно смазать контакты или медной силиконовой смазкой.
Периодически осматривайте шкивы и крыльчатку. Любые трещины или сколы скором о говорят капитальном ремонте. Лучше их сразу чтобы, заменить не было аварийных ситуаций. Аналогично проверять рекомендуется натяжку ремня.
После того, подключить как генератор получилось и был запущен смотрите, двигатель на контрольную лампочку. Он должна сразу же некоторых. На гаснуть тракторах МТЗ мигание вхолостую – если, норма вращение не достигло 1,4 тысячи оборотов.
неполадки Частые и их диагностика
1 Итак, контрольная лампочка не что, гаснет же делать? Не паниковать и сразу проверить ремня натяжение. Если оно в порядке – тогда проверить необходимо контакты на окислы. Если после работоспособность чистки не восстановилась, нужно проверить напряжение на Оно. выходе не должно быть ниже 12,5 вольт.

2 слышен Если посторонний шум и стук во время проблема – работы в ослаблении гайки фиксации шкива. возможно Однако и разрушение подшипника. Диагностируется обычной Подшипник. разборкой будет заметно хрустеть при его и износе понадобится заменить. Гайку можно уплотнителем смазать резьбы и покрепче затянуть.
Главное, была не чтобы нарушена посадка на шкиве. Заметить посадочное разбитое место можно по свободному движению этом. В гайки случае его нужно заменить.
3 коем ни в Подшипник случае нельзя выбивать. Можно вал повредит, а это уже капитальный ремонт. специальный Необходим съемник.
В остальном, на тракторах МТЗ случаются редко другие поломки генератора.
генератора Ремонт трактора т40
Трактор Т-40, Т-40А. электрооборудования Неисправности
Трактор Т-40, Т-40А. Неисправности генератора


дает не Генератор тока или дает малый ток зарядный
Неисправность в цепи «генератор — реле-батарея — регулятор» или в цепи «Массы»
Загрязнен замаслен или коллектор 
Недостаточное давление щеточных износ:
а) пружин щеток превышает допустимый предел
б) пружины неисправность щеткоде р ж а т е л я
в) заедание щеток в направляющих
или Обрыв короткое замыкание в якоре
Обрыв короткое или замыкание в катушках возбуждения Короткое между замыкание пластинами коллектора 
Шум или генератора стук 
Плохо притерты щетки к коллектору иут Hoi щеткодержатель
Сколы на щетках Износ подшипников шариковых (чрезмерный зазор или повреждение беговых поверхностен дорожек или шариков) 
Перезарядка батарей аккумуляторных, большой зарядный ток при работе длительной трактора днем; частое перегорание при
ламп длительной работе ночью 
Завышенное поддерживаемое, напряжение регулятором 
При остановке двигателя и потребителях выключенных амперметр показывает большой зарядный контакты (ток реле обратного тока
не размыкаются)* 
контакты Сварились реле обратного тока Уменьшение или упругости обрыв пружины якорька
трактора Генератор Т-40
Генератор трактора Т-40 предназначен для питанием обеспечения электрическим током всех потребителей (контрольные, фары приборы ). Кроме того, генератор для служит подзарядки аккумулятора, установленного на трактор.
устанавливаемый Генератор на трактор Т-40 представляет собой бесконтактный одноименнополюсный трехфазный механизм с односторонним электромагнитным возбуждением. оснащен Генератор регулятором напряжения (Я112Б, РР-362-Б) и выпрямительным встроенным блоком.
На задней крышке генератора клемы размещены «+» и «Д» для подключения приборов потребляющих также, а электроэнергию переключатель для посезонного регулирования Для.
напряжения продления срока службы генератора проводить необходимо ежедневные проверки на предмет его избежания. Во исправности выхода из строя генератора, рекомендуется следующих придерживаться правил:
1. Запрещается подключать аккумулятор полярностью обратной — это приведет к выводу из строя напряжения регулятора и генератора;
2. Запускать дизельный двигатель от источника стороннего с напряжением более 13 В.;
3. Мыть генератор жидкостями легковоспламеняющимися (бензин, керосин, чистящие средства на основе спиртовой);
4. При проверке на наличие тока, замыкать запрещается на массу при отсутствии аккумулятора.
трактора Генератор Т-40: 1 винт посезонной регулировки (зима-регулятор); 2 — лето напряжения; 3 -задняя крышка; 4 — статор; 5 — крышка передняя; 6 — крыльчатка вентилятора; 7 — шкив.
Реле-регулятор РР315-Б трактора Т-40 и Т-40А

Электрооборудование трактора Т-40 предназначено для запуска двигателя и безопасной работы в ночное время суток при выполнении транспортных или сельскохозяйственных работ. Электрооборудование реализовано по однопроводной системе, в которой минусовым проводом служат металлические детали трактора («масса»). 
Номинальное напряжение в системе электрооборудования трактора составляет 12 В. Источники электрического тока соединяются отрицательными клеммами с «массой».
Электрооборудование Т-40 состоит из следующих агрегатов и приборов:
1. Генератор постоянного тока, оснащенный реле-регулятором и аккумуляторы, являющиеся источником электрического тока.
2. Стартер с реле и включателем стартера, выполняющий функцию пускового устройства двигателя.
3. Указатели поворота, габаритов, задние и передние фары, плафон, стоп-сигнал, фонарь номерного знака, сигнальная лампа обрыва ремня вентилятора, а также переносная лампа служат для световой сигнализации и освещения.
4. Амперметр, отображающий силу разрядного или зарядного тока.
5. Звуковой сигнал оснащенный включателем.
6. Соединительные панели и провода, включатель «массы» и предохранитель.

Схема электрооборудования трактора Т-40 со стартером: 1 — фонарь-указатель поворотов и габаритов; 2 — передняя фара; 3 — соединительная панель; 4— звуковой сигнал; 5 — плафон кабины; 6 — переключатель плафона и вентилятора; 7 — вентилятор; 8 — стеклоочиститель; 9 — датчик указателя температуры масла; 10 — генератор; 11 — свеча накаливания; 12 — включатель «массы»; 13 — аккумуляторная батарея; 14 — стартер; 15 — реле стартера; 16 — контрольная лампа указателей поворотов; 17 — переключатель указателей поворотов; 18 — центральный переключатель света; 19 — переключатель света передних фар; 20 — контрольная лампа дальнего света; 21 — включатель сигнала; 22 — контрольная лампа включателя «массы»; 23— указатель температуры масла; 24 — выключатель блокировки пуска дизеля при включенной передаче; 25 — контрольный элемент; 26 — переносная лампа; 27 — розетка переносной лампы; 28 — дополнительное сопротивление; 29 — включатель свечи накаливания и стартера; 30 — указатель тока; 31 — включатель «стоп»; 32 — включатель света задних фар; 33 — лампы освещения щитка приборов; 34 — прерыватель указателей поворотов; 35 — предохранитель; 36 — фонарь-указатель поворотов, габаритов и сигнала торможения; 37 — задняя фара; 38 — штепсельная розетка; 39 — фонарь номерного знака. Обозначение расцветки проводов на схеме: Б — белый; Г — голубой (синий); Ж — желтый; З— зеленый; К — красный; Кч — коричневый; Ф — фиолетовый; Ч — черный. Рядом с обозначением расцветки цифрами указано сечение проводов. Неуказанные на схеме сечения проводов 0,75 мм².

Схема электрооборудования трактора Т-40 с пусковым агрегатом: 1 — фонарь-указатель поворотов и габаритов; 2 — передняя фара; 3 — соединительная панель; 4 — звуковой сигнал; 5 — плафон кабины; 6 — переключатель плафона и вентилятора; 7 — вентилятор; 8 — стеклоочиститель; 9 — датчик указателя температуры масла; 10 — генератор; 11 — свеча искровая; 12 — свеча накаливания; 13 — включатель «массы»; 14 — аккумуляторная батарея; 15 — стартер пускового агрегата; 16 — магнето; 17— контрольная лампа указателей поворотов; 18 — переключатель указателей поворотов; 19 — центральный переключатель света; 20 — переключатель света передних фар; 21 — контрольная лампа дальнего света; 22 — включатель сигнала; 23 — контрольная лампа включателя «массы»; 24 — указатель температуры масла; 25 — включатель остановки пускового агрегата; 26 — включатель блокировки пуска дизеля при включенной передаче; 27— контрольный элемент; 28 — переносная лампа; 29 — розетка переносной лампы; 30 — включатель свечи накаливания; 31 — дополнительное сопротивление; 32 — включатель стартера пускового агрегата; 33 — указатель тока; 34 — включатель света задних фар; 35 — лампа освещения щитка приборов; 36 — прерыватель указателей поворотов; 37 — предохранитель; 38 — включатель «стоп»; 39 — фонарь-указатель поворотов, габаритов и сигнала торможения; 40 — задняя фара; 41 — штепсельная розетка; 42 — фонарь номерного знака. Обозначение расцветки проводов на схеме выше.
Центральный переключатель необходим для включения габаритных огней и освещения трактора. Передние фонари используются для обозначения габаритов трактора и подачи сигналов поворота, задние фонари служат в качестве указателей габаритов, а также поворотов и сигнала торможения.
Контактно-транзисторный реле-регулятор служит для автоматического поддержания напряжения на клеммах генератора в заданных пределах, что необходимо для обеспечения нормального зарядного режима аккумуляторных батарей и работы потребителей.
Реле-регулятор имеет два электромагнитных элемента: регулятор напряжения PH и реле защиты Р3 (рис. 95).
Эти элементы имеют одинаковую конструкцию и представляют собой реле с одной парой нормально-разомкнутых контактов, причем подвижный кот акт обоих реле (контакт якоря) электрически соединен с корпусом реле.
В блоке электромагнитных реле, под панелью, расположены сопротивления схемы. В отсеке, отделенном перегородкой от блока электромагнитных элементов, расположены: транзистор Т (рис. 96), который крепится на теплоотводе и два диода Д1 и Д2.
По выполняемым функциям реле-регулятор может рассматриваться как состоящий из следующих устройств:
устройство для регулирования напряжения RН;
переключателя посезонной регулировки ПНР.
Устройство для регулирования напряжения генератора
состоит из транзистора Т, электромагнитного регулятора напряжения RH, сопротивлении Ry, Rд, Rт, Rб и полупроводниковых диодов Д1 и Д2.
Транзистор является исполнительным элементом, регулирующим ток возбуждения генератора.
Электромагнитный вибрационный регулятор напряжения управляет транзистором. Через контакты регулятора напряжения проходит ток управления транзистором, меньший 0,5 А, поэтому контакты регулятора напряжения практически не имеют износа или подгара и не требуют зачистки в процессе эксплуатации.
Устройство для защиты транзистора от коротких замыканий в цепи обмотки возбуждения
. Этим устройством является электро- магнитное реле с нормально разомкнутыми контактами, которые замыкаются при коротком замыкании в цепи возбуждения, обеспечивая запирание транзистора.
Устройство посезонной регулировки ППР
предназначено для изменения регулируемого напряжения в соответствии с требованиями летней и зимней эксплуатации, обеспечивает разницу в величине регулируемого напряжения для этих условий в пределах 0,8—1,2 В.
Для установки переключателя посезонной регулировки в положение «Зима» контактный винт надо завернуть до упора, для установки в положение «Лето» — вывернуть до упора.
Все элементы реле-регулятора заключены в общую коробку.
Реле-регулятор имеет два ввода (два зажима), с маркировкой Ш (шунт) и В (выпрямитель). К клемме Ш присоединен провод, идущий к клемме Ш генератора, а клемма В соединена проводами с клеммой В генератора и потребителями тока.
Эксплуатация Генератора на Т-40
Для исключения поломок генератора, с установленным интегральным регулятором напряжения, перед выполнением сварочных работ отключается «масса».
Для продления срока эксплуатации генератора необходимо выполнять следующие рекомендации:
Читайте также: Мотоблок своими руками (как сделать мотоблок): инструкция с фото, технология сборки и применения, рекомендации + советы
- Категорически запрещено подключать аккумуляторные клеммы в обратной полярности.
 - Нельзя выполнять запуск двигателя от стороннего источника питания напряжение, в котором больше 13 В.
 - Запрещено мыть тракторный генератор в бензине, дизельном топливе либо в других растворах, содержащих в своём составе обезжиривающие средства, а также выполнять сушку при температуре больше 85C.
 - Нельзя производить проверку на исправность генератора путём соединения выводов «массы» и регуляторов напряжения.
 - Запрещено проверять наличие тока с помощью замыкания на «массу» во время отсутствия в тракторе аккумуляторной батареи.
 
ПРОФИЛАКТИЧЕСКОЕ ОБСЛУЖИВАНИЕ ГЕНЕРАТОРА МТЗ
Генераторы, устанавливаемые на тракторы МТЗ, имеют простую и надежную конструкцию, которая позволяет им работать длительное время в тяжелых условиях, таких как запыленность, воздействие высоких температур, влаги, длительная работа на повышенных оборотах.
Систематическое профилактическое обслуживание необходимо для бесперебойной работы устройства. При обслуживании необходимо проверить состояние креплений генератора и силу натяжения приводного ремня. Прогиб ремня при усилии 3 кг/см не должен превышать 3 см, в противном случае ремень следует подтянуть. Ремень не должен иметь надрывов, трещин, и других следов повреждения.
Читать дальше: Сколько времени холодильник набирает температуру после разморозки
Электрические соединения проверяются на качество крепления и отсутствие следов окисления. При наличии окисления выводных клемм следует отсоединить аккумуляторную батарею, снять клеммы с генератора и зачистить. Клеммы, которые находятся под напряжением, должны иметь защитные колпачки, исключающие воздействие факторов окружающей среды и предотвращающие короткое замыкание.
Исправность устройства проверяется при каждом пуске двигателя с помощью контрольной лампы заряда АКБ. При включении зажигания лампа должна гореть, и погаснуть, как только двигатель запущен. Допускается, что лампа гаснет только с увеличением частоты вращения коленчатого вала до 1400 оборотов в минуту, так как некоторые модели имеют частоту оборотов возбуждения выше оборотов холостого хода двигателя.
Если контрольная лампа не гаснет или измерительные приборы на панели, такие как амперметр или вольтметр, показывают разряд (для вольтметра это значения ниже 12,5 вольт), необходимо произвести диагностику генератора. Делается это только на неработающем двигателе.
Техническое обслуживание генератора на тракторе Т-40
Спустя 120 часов работы необходимо выполнить проверку степени натяжения ремня, и в случае необходимости подтянуть его. Для этого нужно открутить гайку и переместить генератор на себя. Нормальным считается натяжения ремня, когда прогиб между коленвалом и шкивом равен 15–23 мм.

После 960 часов работы необходимо выполнить:
- Проверку на отсутствие заедания в движении щёток, которое в случае обнаружения нужно устранить в срочном порядке.
 - Замену изношенных до 15 мм щёток. Новые щётки притираются к коллектору с помощью наждачной бумаги. После этого выполняется продувка поверхности и внутренней полости коллектора.
 - В случае нагара на коллекторе – устранить его с помощью, смоченной в бензине тряпки. Если нагар не убирается, таким образом, то необходимо применить наждачную бумагу с мелкой фракцией.
 - 4. Если на коллекторе присутствует следы подгорания – необходимо снять его и отдать в ремонт высококвалифицированным специалистам. Спустя каждых 240 часов работы нужно смазывать подшипники. После начала использования генератор не нуждается в дополнительной смазке в течение 1440 часов.Содержание страницы
 
Как проверить на исправность генератор трактора МТЗ 82
Исправность генератора можно проверить только при неработающем двигателе, предварительно отсоединив провода от клемм генератора. Проверить генератор можно при помощи 12-вольтовой лампочки и аккумулятора.
Для проверки обмотки возбуждения, необходимо отрицательный вывод аккумулятора соединить с клеммой М генератора, а положительный вывод через контрольную лампочку с клеммой III генератора. При исправной обмотке возбуждения, лампочка будет светить вполнакала (сила тока 3,0-3,5 ампер). Если лампа будет светить в полную силу, то это говорит о коротком замыкании между корпусом генератора и обмоткой возбуждения. Если лампочка вообще не горит, то присутствует обрыв в обмотке возбуждения.
Генератор т 40 схема подключения

Электрооборудование трактора Т-40 предназначено для запуска двигателя и безопасной работы в ночное время суток при выполнении транспортных или сельскохозяйственных работ. Электрооборудование реализовано по однопроводной системе, в которой минусовым проводом служат металлические детали трактора («масса»). 
Номинальное напряжение в системе электрооборудования трактора составляет 12 В. Источники электрического тока соединяются отрицательными клеммами с «массой».
Электрооборудование Т-40 состоит из следующих агрегатов и приборов:
1. Генератор постоянного тока, оснащенный реле-регулятором и аккумуляторы, являющиеся источником электрического тока.
2. Стартер с реле и включателем стартера, выполняющий функцию пускового устройства двигателя.
3. Указатели поворота, габаритов, задние и передние фары, плафон, стоп-сигнал, фонарь номерного знака, сигнальная лампа обрыва ремня вентилятора, а также переносная лампа служат для световой сигнализации и освещения.
4. Амперметр, отображающий силу разрядного или зарядного тока.
5. Звуковой сигнал оснащенный включателем.
6. Соединительные панели и провода, включатель «массы» и предохранитель.

Схема электрооборудования трактора Т-40 со стартером: 1 — фонарь-указатель поворотов и габаритов; 2 — передняя фара; 3 — соединительная панель; 4— звуковой сигнал; 5 — плафон кабины; 6 — переключатель плафона и вентилятора; 7 — вентилятор; 8 — стеклоочиститель; 9 — датчик указателя температуры масла; 10 — генератор; 11 — свеча накаливания; 12 — включатель «массы»; 13 — аккумуляторная батарея; 14 — стартер; 15 — реле стартера; 16 — контрольная лампа указателей поворотов; 17 — переключатель указателей поворотов; 18 — центральный переключатель света; 19 — переключатель света передних фар; 20 — контрольная лампа дальнего света; 21 — включатель сигнала; 22 — контрольная лампа включателя «массы»; 23— указатель температуры масла; 24 — выключатель блокировки пуска дизеля при включенной передаче; 25 — контрольный элемент; 26 — переносная лампа; 27 — розетка переносной лампы; 28 — дополнительное сопротивление; 29 — включатель свечи накаливания и стартера; 30 — указатель тока; 31 — включатель «стоп»; 32 — включатель света задних фар; 33 — лампы освещения щитка приборов; 34 — прерыватель указателей поворотов; 35 — предохранитель; 36 — фонарь-указатель поворотов, габаритов и сигнала торможения; 37 — задняя фара; 38 — штепсельная розетка; 39 — фонарь номерного знака. Обозначение расцветки проводов на схеме: Б — белый; Г — голубой (синий); Ж — желтый; З— зеленый; К — красный; Кч — коричневый; Ф — фиолетовый; Ч — черный. Рядом с обозначением расцветки цифрами указано сечение проводов. Неуказанные на схеме сечения проводов 0,75 мм².

Схема электрооборудования трактора Т-40 с пусковым агрегатом: 1 — фонарь-указатель поворотов и габаритов; 2 — передняя фара; 3 — соединительная панель; 4 — звуковой сигнал; 5 — плафон кабины; 6 — переключатель плафона и вентилятора; 7 — вентилятор; 8 — стеклоочиститель; 9 — датчик указателя температуры масла; 10 — генератор; 11 — свеча искровая; 12 — свеча накаливания; 13 — включатель «массы»; 14 — аккумуляторная батарея; 15 — стартер пускового агрегата; 16 — магнето; 17— контрольная лампа указателей поворотов; 18 — переключатель указателей поворотов; 19 — центральный переключатель света; 20 — переключатель света передних фар; 21 — контрольная лампа дальнего света; 22 — включатель сигнала; 23 — контрольная лампа включателя «массы»; 24 — указатель температуры масла; 25 — включатель остановки пускового агрегата; 26 — включатель блокировки пуска дизеля при включенной передаче; 27— контрольный элемент; 28 — переносная лампа; 29 — розетка переносной лампы; 30 — включатель свечи накаливания; 31 — дополнительное сопротивление; 32 — включатель стартера пускового агрегата; 33 — указатель тока; 34 — включатель света задних фар; 35 — лампа освещения щитка приборов; 36 — прерыватель указателей поворотов; 37 — предохранитель; 38 — включатель «стоп»; 39 — фонарь-указатель поворотов, габаритов и сигнала торможения; 40 — задняя фара; 41 — штепсельная розетка; 42 — фонарь номерного знака. Обозначение расцветки проводов на схеме выше.
Центральный переключатель необходим для включения габаритных огней и освещения трактора. Передние фонари используются для обозначения габаритов трактора и подачи сигналов поворота, задние фонари служат в качестве указателей габаритов, а также поворотов и сигнала торможения.
Трактор Т-40, Т-40А. Электрооборудование трактора
Установленное на тракторах Т40 и Т40А электрооборудование предназначено для пуска двигателя и нормальной работы трактора и сельскохозяйственного агрегата в ночное время, как при выполнении сельскохозяйственных работ, так и при использовании трактора на транспортных работах. Приборы электрооборудования трактора соединены по однопроводной системе проводки, при которой минусовым приводом служат металлические части («Масса») самого трактора.
Каждый источник и каждый потребитель электрической энергии соединены одним полюсом с «Массой». Напряжение (номинальное) в системе электрооборудования 12 $.
В систему электрооборудования трактора входят следующие приборы и агрегаты (см. схему рис. 74):
1. Генератор 3 постоянного тока с реле-регулятором 9 и аккумуляторные батареи 29, являющиеся источником электрической энергии.
2. Стартер 34 с реле 2 и включателем 30 стартера, служащий пусковым устройством двигателя.
3. Передние фары 1, задние фары 21, двусторонние фонари 23 — указатели поворота, габаритов, стоп-сигнала, фонарь 22 номерного знака, плафон 24, контрольная лампа обрыва ремня вентилятора 7, а также переносная лампа служат для освещения и световой сигнализации.
4. Амперметр 11, показывающий величину зарядного или разрядного тока.
5. Звуковой сигнал 6 с включателем 13.
6. Соединительные панели 5, включатель «Массы» 28, предохранитель и соединительные провода.
Трактор может быть укомплектован пусковым двигателем, когда вместо основного стартера в дополнение к перечисленному оборудованию устанавливается включатель стартера пускового двигателя и кнопка остановки пускового двигателя.
Схема электрооборудования трактора с пусковым двигателем показана на рис. 75.
Рис. 74. Схема электрооборудования трактора, укомплектованного стартером:
1 — фары передние; 2 — реле стартера; 3 — генератор; 4 — датчик указателя температуры; 5 — панели соединительные: 6 —» сигнал звуковой; 7 — контрольная лампа обрыва ремня вентилятора; 8 — указатель температуры масла; 9 — реле-регулятор; 10 — розетка переносной лампы; II — амперметр; 12 — предохранитель; 13 —* включатель сигнала; 14 — переключатель указателей поворота; 15 — включатель «Стоп»; !6 — сигиализатор поворота; !7 — переключатель света передних фар; 18 — переключатель плафона и вентилятора; 19 — розетка штепсельная; 20 — вентилятор; 21 — фары задние; 22 — фонарь номерного знака; 23 — фонарь двусторонний; 24 — плафон кабины; 25 — лампа освещения щитка приборов; 26 — включатель лампы освещения щитка приборов; 27 — переключатель света задних фар и габаритных фонарей; 28 — включатель «Массы»; 29 — аккумуляторная батарея; 30 — включатель свечи накаливания и стартера; 31 — дополнительное сопротивление; 32 — контрольный элемент свечи накаливания; 33 — свеча накаливания; 34 — стартер.
Обозначение расцветки проводов на схеме: Б — белый; К — красный; Г — голубой; 3 — зеленый; Ж — желтый; Кор. коричневый; Ф — фиолетовый; Ч — черный Рядом с обозначением расцветки цифрам указано сечение провода.
Рис. 75. Схема электрооборудования трактора, укомплектованного пусковым двигателем: 1 — фары передние; 2 — реле стартера; 3 — контрольная лампа обрыва ремня вентилятора; 4 — генератор; 5 — датчик указателя температуры; 6 — панели соединительные; 7 — указатель температуры масла; 8 — лампа освещения щитка приборов; 9 — включатель лампы освещения щитка приборов; 10— предохранитель; 11 — розетка переносной лампы; 12 — плафон кабины; 13 — переключатель плафона и вентилятора; 14 — вентилятор; !5 — переключатель указателей поворота; 16 — сигналила гор поворота; 17 — переключатель света Передних* фа^>; 18 — переключатель света задних фар и габаритных фонарей; 19 — включатель «Стоп»; 20 —розетка штепсельная; 21 фонарь двусторонний; 22— фары задние; 23 — фонарь номерного знака; 24 — включатель «Массы»; 25 — аккумуляторная батарея; 26 — свеча накаливания; 27 — включатель сигнала; 28 — контрольный элемент свечи накаливания; 29 — сигнал звуковой; 30 — дополнительное сопротивление; 31 — стартер пускового двигателя; 32 — свеча запальная; 33 — включатель остановки пускового двигателя; 34 — включатель стартера пускового двигателя; 35 — амперметр; 36 — реле-регулятор; 37 — включатель свечи накаливания и стартера; 38 — магнето. Обозначение расцветки проводов на схеме: Б — белый; К — красный; Г — голубой; 3 — зеленый; Ж — желтый; Кор. — коричневый; Ф — фиолетовый; Ч — черный. Рядом с обозначением расцветки цифрами указано сечение провода.
содержание .. 81 82 85 ..
Эксплуатация Генератора на Т-40
Для исключения поломок генератора, с установленным интегральным регулятором напряжения, перед выполнением сварочных работ отключается «масса».
Для продления срока эксплуатации генератора необходимо выполнять следующие рекомендации:
- Категорически запрещено подключать аккумуляторные клеммы в обратной полярности.
 - Нельзя выполнять запуск двигателя от стороннего источника питания напряжение, в котором больше 13 В.
 - Запрещено мыть тракторный генератор в бензине, дизельном топливе либо в других растворах, содержащих в своём составе обезжиривающие средства, а также выполнять сушку при температуре больше 85C.
 - Нельзя производить проверку на исправность генератора путём соединения выводов «массы» и регуляторов напряжения.
 - Запрещено проверять наличие тока с помощью замыкания на «массу» во время отсутствия в тракторе аккумуляторной батареи.
 
Техническое обслуживание генератора на тракторе Т-40
Спустя 120 часов работы необходимо выполнить проверку степени натяжения ремня, и в случае необходимости подтянуть его. Для этого нужно открутить гайку и переместить генератор на себя. Нормальным считается натяжения ремня, когда прогиб между коленвалом и шкивом равен 15–23 мм.
После 960 часов работы необходимо выполнить:
- Проверку на отсутствие заедания в движении щёток, которое в случае обнаружения нужно устранить в срочном порядке.
 - Замену изношенных до 15 мм щёток. Новые щётки притираются к коллектору с помощью наждачной бумаги. После этого выполняется продувка поверхности и внутренней полости коллектора.
 - В случае нагара на коллекторе – устранить его с помощью, смоченной в бензине тряпки. Если нагар не убирается, таким образом, то необходимо применить наждачную бумагу с мелкой фракцией.
 - 4. Если на коллекторе присутствует следы подгорания – необходимо снять его и отдать в ремонт высококвалифицированным специалистам. Спустя каждых 240 часов работы нужно смазывать подшипники. После начала использования генератор не нуждается в дополнительной смазке в течение 1440 часов.Содержание страницы
 
Описание трактора Т-40
Далее будут приведены описание и характеристика трактора Т-40. На машине есть компоновка заднего моста, на ней стоит двигатель и КП. Задние колеса большего диаметра, чем передние направляющие. Для хорошей проходимости на протекторах сделаны грунтозацепы «елочкой». Колея регулируется, поэтому машина может преодолевать дорожный просвет всех колес. Задние колеса — сменные, могут быть поставлены с меньшей шириной. Чтобы увеличить колею, задние колеса поворачивают наизнанку. Это достигается несимметричной формой дисков.
Рассмотрим устройство трактора. Липецким заводом устанавливался мотор с четырьмя цилиндрами и воздушным охлаждением. Они обладали разной мощностью. Агрегат с двигателем Д-37 имел мощность 37 л.с, а с Д-144 — 50 л.с. В качестве горючего используется дизель. Заводится машина электростартером или пусковым двигателем ПД8, работающим от бензина.
В коробке передач (КПП Т-40) с помощью механической и реверсивной силовой передачи используется весь диапазон скоростей. Причем в отличие от других типов колесных тракторов, задний ход можно использовать также с навесными орудиями.
В случае выполнения низкоскоростных работ предусмотрен гидрообъемный ходоуменьшитель. Возможности трактора увеличивают два многорежимных вала отбора мощности, управляемые независимо друг от друга.
Отличительной особенностью является интересное расположение конического редуктора и валов КПП, которые располагаются попеременно непосредственно за муфтой сцепления.
К преимуществам техники можно отнести совместимость навесного и прицепного оборудования различных классов машин, таких как: Т-25 и тяжелых моделей Беларусь. К недостаткам относится недостаточное прогревание машины в зимнее время и напряженная работа двигателя летом. Поскольку охлаждение в тракторе воздушное, в холодное время года кабина тракториста не прогревается. По этой же причине завести машину зимой трудно.
Расход топлива трактора Т-40 не всегда одинаков. Поскольку мощность двигателей на моделях отличается, соответственно, и расход топлива будет разным. Самый низкий показатель — 7,28 кг/ч. Он может увеличиваться в зависимости от сложности выполняемых работ и качества грунта.
Схема и регулировка сцепления трактора Т 40 влияют на плавное переключение коробки передач. Рассмотрим принцип работы механизма.
Сцепление Т-40 отключает связь между двигателем и коробкой передач. Такое кратковременное разъединение необходимо для быстрого переключения скоростей на коробке передач и начала движения машины. Разъединение дисков сцепления достигается выжимным подшипником. Это важная и самая уязвимая деталь, входящая в коробку передач и обеспечивающая движение машины. При износе или поломке данной детали ее сразу заменяют на новую.
Механизм состоит из муфты, представляющей собой диск с замкнутым управлением. В процессе эксплуатации изнашиваются накладки дисков, что приводит к уменьшению зазора между подшипником и концами рычагов. В результате трения может произойти поломка. Отрегулировать муфту можно с помощью тяги или болтов. В обоих случаях зазор должен оставаться в 4 мм.
Реле-регулятор РР315-Б трактора Т-40 и Т-40А

Электрооборудование трактора Т-40 предназначено для запуска двигателя и безопасной работы в ночное время суток при выполнении транспортных или сельскохозяйственных работ. Электрооборудование реализовано по однопроводной системе, в которой минусовым проводом служат металлические детали трактора («масса»). 
Номинальное напряжение в системе электрооборудования трактора составляет 12 В. Источники электрического тока соединяются отрицательными клеммами с «массой».
Электрооборудование Т-40 состоит из следующих агрегатов и приборов:
1. Генератор постоянного тока, оснащенный реле-регулятором и аккумуляторы, являющиеся источником электрического тока.
2. Стартер с реле и включателем стартера, выполняющий функцию пускового устройства двигателя.
3. Указатели поворота, габаритов, задние и передние фары, плафон, стоп-сигнал, фонарь номерного знака, сигнальная лампа обрыва ремня вентилятора, а также переносная лампа служат для световой сигнализации и освещения.
4. Амперметр, отображающий силу разрядного или зарядного тока.
5. Звуковой сигнал оснащенный включателем.
6. Соединительные панели и провода, включатель «массы» и предохранитель.

Схема электрооборудования трактора Т-40 со стартером: 1 — фонарь-указатель поворотов и габаритов; 2 — передняя фара; 3 — соединительная панель; 4— звуковой сигнал; 5 — плафон кабины; 6 — переключатель плафона и вентилятора; 7 — вентилятор; 8 — стеклоочиститель; 9 — датчик указателя температуры масла; 10 — генератор; 11 — свеча накаливания; 12 — включатель «массы»; 13 — аккумуляторная батарея; 14 — стартер; 15 — реле стартера; 16 — контрольная лампа указателей поворотов; 17 — переключатель указателей поворотов; 18 — центральный переключатель света; 19 — переключатель света передних фар; 20 — контрольная лампа дальнего света; 21 — включатель сигнала; 22 — контрольная лампа включателя «массы»; 23— указатель температуры масла; 24 — выключатель блокировки пуска дизеля при включенной передаче; 25 — контрольный элемент; 26 — переносная лампа; 27 — розетка переносной лампы; 28 — дополнительное сопротивление; 29 — включатель свечи накаливания и стартера; 30 — указатель тока; 31 — включатель «стоп»; 32 — включатель света задних фар; 33 — лампы освещения щитка приборов; 34 — прерыватель указателей поворотов; 35 — предохранитель; 36 — фонарь-указатель поворотов, габаритов и сигнала торможения; 37 — задняя фара; 38 — штепсельная розетка; 39 — фонарь номерного знака. Обозначение расцветки проводов на схеме: Б — белый; Г — голубой (синий); Ж — желтый; З— зеленый; К — красный; Кч — коричневый; Ф — фиолетовый; Ч — черный. Рядом с обозначением расцветки цифрами указано сечение проводов. Неуказанные на схеме сечения проводов 0,75 мм².

Схема электрооборудования трактора Т-40 с пусковым агрегатом: 1 — фонарь-указатель поворотов и габаритов; 2 — передняя фара; 3 — соединительная панель; 4 — звуковой сигнал; 5 — плафон кабины; 6 — переключатель плафона и вентилятора; 7 — вентилятор; 8 — стеклоочиститель; 9 — датчик указателя температуры масла; 10 — генератор; 11 — свеча искровая; 12 — свеча накаливания; 13 — включатель «массы»; 14 — аккумуляторная батарея; 15 — стартер пускового агрегата; 16 — магнето; 17— контрольная лампа указателей поворотов; 18 — переключатель указателей поворотов; 19 — центральный переключатель света; 20 — переключатель света передних фар; 21 — контрольная лампа дальнего света; 22 — включатель сигнала; 23 — контрольная лампа включателя «массы»; 24 — указатель температуры масла; 25 — включатель остановки пускового агрегата; 26 — включатель блокировки пуска дизеля при включенной передаче; 27— контрольный элемент; 28 — переносная лампа; 29 — розетка переносной лампы; 30 — включатель свечи накаливания; 31 — дополнительное сопротивление; 32 — включатель стартера пускового агрегата; 33 — указатель тока; 34 — включатель света задних фар; 35 — лампа освещения щитка приборов; 36 — прерыватель указателей поворотов; 37 — предохранитель; 38 — включатель «стоп»; 39 — фонарь-указатель поворотов, габаритов и сигнала торможения; 40 — задняя фара; 41 — штепсельная розетка; 42 — фонарь номерного знака. Обозначение расцветки проводов на схеме выше.
Центральный переключатель необходим для включения габаритных огней и освещения трактора. Передние фонари используются для обозначения габаритов трактора и подачи сигналов поворота, задние фонари служат в качестве указателей габаритов, а также поворотов и сигнала торможения.
ЭЛЕКТРООБОРУДОВАНИЕ ТРАКТОРА Т-40М
Установленное на тракторах электрооборудование предназначено для пуска двигателя и нормальной работы трактора и сельскохозяйственного агрегата в ночное время как при выполнении сельскохозяйственных работ, так и при использовании трактора на транспорте. Система электрооборудования трактора однопроводная. при которой минусовым проводом служат металлические части («-Масса») самого трактора.
Каждый источник электрической энергии соединен одним полюсом с «Массой». Напряжение (номинальное) в системе электрооборудования 12В.
В систему электрооборудования трактора входят приборы и агрегаты, показанные на рис. 92 и 93.
Передние фонари ( Передние (2, рис. 92) и задние (36) фонари будут устанавливаться в 1977 г.) служат для обозначения габаритов трактора и включения сигналов указателей поворота. Задние фонари выполняют функции обозначения габаритов трактора, указателей поворотов и стоп-сигнала.
Центральный переключатель служит для включения наружных цепей наружного и внутреннего освещения.
Передние фонари имеете с передними фарами установлены на общем кронштейне, закрепленном на переднем брусе трактора.
В задней части крыльев смонтированы задние фонари*, а также световозвращателн, отражающие падающий па них свет фар от сзади идущего транспорта.
Трактор может быть укомплектован пусковым двигателем, когда вместо стартера устанавливается пусковой двигатель, включатель стартера и включатель остановки пускового двигателя.
В корпусе механизма переключения передач установлен включатель, который не позволяет запустить двигатель при включенной скорости трактора.
На тракторе Т-40АНМ в электрическую схему подключен стеклоочиститель и шариковый сигнализатор крена.
Рис. 92. Схема электрооборудования трактора со стартером: 1 — передняя фара; 2 — фонарь-указатель поворотов и габаритов; 3 — стартер; 4 — свеча накаливания; 5 — реле стартера; 6 — реле-блокировки; 7 — генератор; 8 — датчик указателя температуры масла;9 — соединительная панель; 10 — звуковой сигнал; И — включатель сигнала; 12 — предохранитель; 13 — указатель температуры масла; 14 — контрольная лампа включателя «Массы»; 15 — реле-регулятор; 16 — амперметр; 17 — розетка переносной лампы; 18 — контрольный элемент свечи накаливания; 19 — дополнительное сопротивленье; 20 — включатель свечи накаливания и стартера; 21 — контрольная лампа дальнего света; 22 — аккумуляторная батарея; 23 — включатель
1- передняя фара; 2 — соединительная панель; 3 — стартер пускового двигателя; 4 — свеча накаливания; 5 — реле-регулятор; 6 — фонарь-указатель поворотов и габаритов; 7 — генератор; 8 — датчик указателя температуры масла; 9 — звуковой сигнал; 10 — включатель сигнала 11-_ указатель температуры масла; 12 — предохранитель; 13 — контрольная лампа включателя «Массы»; 14 — амперметр; 15 — розетка переносной лампы; 16 — включатель стартера пускового двигателя: 17 — включатель свечи накаливания; 18 — дополнительное сопротивление; 19 — контрольный элемент свечи накаливания; 20 — аккумуляторная батарея; 21 — искровая свеча; 22 — магнето; 23 ~ включатель «Массы»; 24 — включатель остановки пускового двигателя; 25 — включатель блокировки коробки передач; 26 — включатель света задних фар; 27 — плафон кабины; 28 — лампа освещения щитка приборов; 29 — вентилятор; 30 — контрольная лампа дальнего света; 31 — переключатель света передних фар; 32 — переключатель плафона и вентилятора; 33 — прерыватель указателей поворота; 34 — центральный переключатель света; 35 — включатель «Стоп»; 36 — штепсельный разъем; 37 — контрольная лампа указателей поворотов; 38 — переключатель указателей поворотов; 39 — фонарь-указатель поворотов, габаритов и стоп-сигнала; 40 — задняя фара; 41 — фонарь номерного знака Обозначение расцветки проводов на схеме см. рис. 92).
содержание .. 130 131 132 133 134 135 136 137 138 139 ..
Эксплуатация Генератора на Т-40
Для исключения поломок генератора, с установленным интегральным регулятором напряжения, перед выполнением сварочных работ отключается «масса».
Для продления срока эксплуатации генератора необходимо выполнять следующие рекомендации:
- Категорически запрещено подключать аккумуляторные клеммы в обратной полярности.
 - Нельзя выполнять запуск двигателя от стороннего источника питания напряжение, в котором больше 13 В.
 - Запрещено мыть тракторный генератор в бензине, дизельном топливе либо в других растворах, содержащих в своём составе обезжиривающие средства, а также выполнять сушку при температуре больше 85C.
 - Нельзя производить проверку на исправность генератора путём соединения выводов «массы» и регуляторов напряжения.
 - Запрещено проверять наличие тока с помощью замыкания на «массу» во время отсутствия в тракторе аккумуляторной батареи.
 
Трактор Т-40
Электрооборудование трактора Т-40 и его схема
Электрооборудование трактора Т-40 предназначено для запуска двигателя и безопасной работы в ночное время суток при выполнении транспортных или сельскохозяйственных работ. Электрооборудование реализовано по однопроводной системе, в которой минусовым проводом служат металлические детали трактора («масса»). 
Номинальное напряжение в системе электрооборудования трактора составляет 12 В. Источники электрического тока соединяются отрицательными клеммами с «массой».
Электрооборудование Т-40 состоит из следующих агрегатов и приборов:
1. Генератор постоянного тока, оснащенный реле-регулятором и аккумуляторы, являющиеся источником электрического тока.
2. Стартер с реле и включателем стартера, выполняющий функцию пускового устройства двигателя.
3. Указатели поворота, габаритов, задние и передние фары, плафон, стоп-сигнал, фонарь номерного знака, сигнальная лампа обрыва ремня вентилятора, а также переносная лампа служат для световой сигнализации и освещения.
4. Амперметр, отображающий силу разрядного или зарядного тока.
5. Звуковой сигнал оснащенный включателем.
6. Соединительные панели и провода, включатель «массы» и предохранитель.
Схема электрооборудования трактора Т-40 со стартером: 1 — фонарь-указатель поворотов и габаритов; 2 — передняя фара; 3 — соединительная панель; 4— звуковой сигнал; 5 — плафон кабины; 6 — переключатель плафона и вентилятора; 7 — вентилятор; 8 — стеклоочиститель; 9 — датчик указателя температуры масла; 10 — генератор; 11 — свеча накаливания; 12 — включатель «массы»; 13 — аккумуляторная батарея; 14 — стартер; 15 — реле стартера; 16 — контрольная лампа указателей поворотов; 17 — переключатель указателей поворотов; 18 — центральный переключатель света; 19 — переключатель света передних фар; 20 — контрольная лампа дальнего света; 21 — включатель сигнала; 22 — контрольная лампа включателя «массы»; 23— указатель температуры масла; 24 — выключатель блокировки пуска дизеля при включенной передаче; 25 — контрольный элемент; 26 — переносная лампа; 27 — розетка переносной лампы; 28 — дополнительное сопротивление; 29 — включатель свечи накаливания и стартера; 30 — указатель тока; 31 — включатель «стоп»; 32 — включатель света задних фар; 33 — лампы освещения щитка приборов; 34 — прерыватель указателей поворотов; 35 — предохранитель; 36 — фонарь-указатель поворотов, габаритов и сигнала торможения; 37 — задняя фара; 38 — штепсельная розетка; 39 — фонарь номерного знака. Обозначение расцветки проводов на схеме: Б — белый; Г — голубой (синий); Ж — желтый; З— зеленый; К — красный; Кч — коричневый; Ф — фиолетовый; Ч — черный. Рядом с обозначением расцветки цифрами указано сечение проводов. Неуказанные на схеме сечения проводов 0,75 мм².
Схема электрооборудования трактора Т-40 с пусковым агрегатом: 1 — фонарь-указатель поворотов и габаритов; 2 — передняя фара; 3 — соединительная панель; 4 — звуковой сигнал; 5 — плафон кабины; 6 — переключатель плафона и вентилятора; 7 — вентилятор; 8 — стеклоочиститель; 9 — датчик указателя температуры масла; 10 — генератор; 11 — свеча искровая; 12 — свеча накаливания; 13 — включатель «массы»; 14 — аккумуляторная батарея; 15 — стартер пускового агрегата; 16 — магнето; 17— контрольная лампа указателей поворотов; 18 — переключатель указателей поворотов; 19 — центральный переключатель света; 20 — переключатель света передних фар; 21 — контрольная лампа дальнего света; 22 — включатель сигнала; 23 — контрольная лампа включателя «массы»; 24 — указатель температуры масла; 25 — включатель остановки пускового агрегата; 26 — включатель блокировки пуска дизеля при включенной передаче; 27— контрольный элемент; 28 — переносная лампа; 29 — розетка переносной лампы; 30 — включатель свечи накаливания; 31 — дополнительное сопротивление; 32 — включатель стартера пускового агрегата; 33 — указатель тока; 34 — включатель света задних фар; 35 — лампа освещения щитка приборов; 36 — прерыватель указателей поворотов; 37 — предохранитель; 38 — включатель «стоп»; 39 — фонарь-указатель поворотов, габаритов и сигнала торможения; 40 — задняя фара; 41 — штепсельная розетка; 42 — фонарь номерного знака. Обозначение расцветки проводов на схеме выше.
Центральный переключатель необходим для включения габаритных огней и освещения трактора. Передние фонари используются для обозначения габаритов трактора и подачи сигналов поворота, задние фонари служат в качестве указателей габаритов, а также поворотов и сигнала торможения.
Передние фары вместе с фонарями смонтированы на едином кронштейне, закрепленный на переднем брусе трактора. На крыльях задних колес установлены задние фонари и световозвращатели, отражающие свет от передних фар идущего позади транспорта.
Для запуска двигателя, трактор Т-40 может быть оснащен пусковым агрегатом включателем стартера и кнопкой его выключения. В корпусе коробки передач находится включатель, не допускающий запуск двигателя при включенной передаче.
В электрическую схему трактора Т-40 АНМ подключен шариковый сигнализатор крена. 
18.09.2021
Техническое обслуживание генератора на тракторе Т-40
Спустя 120 часов работы необходимо выполнить проверку степени натяжения ремня, и в случае необходимости подтянуть его. Для этого нужно открутить гайку и переместить генератор на себя. Нормальным считается натяжения ремня, когда прогиб между коленвалом и шкивом равен 15–23 мм.
Схема электрооборудования трактора Т-40М, Т-40АМ, Т-40АНМ со стартером

Электрооборудование трактора Т-40 предназначено для запуска двигателя и безопасной работы в ночное время суток при выполнении транспортных или сельскохозяйственных работ. Электрооборудование реализовано по однопроводной системе, в которой минусовым проводом служат металлические детали трактора («масса»). 
Номинальное напряжение в системе электрооборудования трактора составляет 12 В. Источники электрического тока соединяются отрицательными клеммами с «массой».
Электрооборудование Т-40 состоит из следующих агрегатов и приборов:
1. Генератор постоянного тока, оснащенный реле-регулятором и аккумуляторы, являющиеся источником электрического тока.
2. Стартер с реле и включателем стартера, выполняющий функцию пускового устройства двигателя.
3. Указатели поворота, габаритов, задние и передние фары, плафон, стоп-сигнал, фонарь номерного знака, сигнальная лампа обрыва ремня вентилятора, а также переносная лампа служат для световой сигнализации и освещения.
4. Амперметр, отображающий силу разрядного или зарядного тока.
5. Звуковой сигнал оснащенный включателем.
6. Соединительные панели и провода, включатель «массы» и предохранитель.

Схема электрооборудования трактора Т-40 со стартером: 1 — фонарь-указатель поворотов и габаритов; 2 — передняя фара; 3 — соединительная панель; 4— звуковой сигнал; 5 — плафон кабины; 6 — переключатель плафона и вентилятора; 7 — вентилятор; 8 — стеклоочиститель; 9 — датчик указателя температуры масла; 10 — генератор; 11 — свеча накаливания; 12 — включатель «массы»; 13 — аккумуляторная батарея; 14 — стартер; 15 — реле стартера; 16 — контрольная лампа указателей поворотов; 17 — переключатель указателей поворотов; 18 — центральный переключатель света; 19 — переключатель света передних фар; 20 — контрольная лампа дальнего света; 21 — включатель сигнала; 22 — контрольная лампа включателя «массы»; 23— указатель температуры масла; 24 — выключатель блокировки пуска дизеля при включенной передаче; 25 — контрольный элемент; 26 — переносная лампа; 27 — розетка переносной лампы; 28 — дополнительное сопротивление; 29 — включатель свечи накаливания и стартера; 30 — указатель тока; 31 — включатель «стоп»; 32 — включатель света задних фар; 33 — лампы освещения щитка приборов; 34 — прерыватель указателей поворотов; 35 — предохранитель; 36 — фонарь-указатель поворотов, габаритов и сигнала торможения; 37 — задняя фара; 38 — штепсельная розетка; 39 — фонарь номерного знака. Обозначение расцветки проводов на схеме: Б — белый; Г — голубой (синий); Ж — желтый; З— зеленый; К — красный; Кч — коричневый; Ф — фиолетовый; Ч — черный. Рядом с обозначением расцветки цифрами указано сечение проводов. Неуказанные на схеме сечения проводов 0,75 мм².

Схема электрооборудования трактора Т-40 с пусковым агрегатом: 1 — фонарь-указатель поворотов и габаритов; 2 — передняя фара; 3 — соединительная панель; 4 — звуковой сигнал; 5 — плафон кабины; 6 — переключатель плафона и вентилятора; 7 — вентилятор; 8 — стеклоочиститель; 9 — датчик указателя температуры масла; 10 — генератор; 11 — свеча искровая; 12 — свеча накаливания; 13 — включатель «массы»; 14 — аккумуляторная батарея; 15 — стартер пускового агрегата; 16 — магнето; 17— контрольная лампа указателей поворотов; 18 — переключатель указателей поворотов; 19 — центральный переключатель света; 20 — переключатель света передних фар; 21 — контрольная лампа дальнего света; 22 — включатель сигнала; 23 — контрольная лампа включателя «массы»; 24 — указатель температуры масла; 25 — включатель остановки пускового агрегата; 26 — включатель блокировки пуска дизеля при включенной передаче; 27— контрольный элемент; 28 — переносная лампа; 29 — розетка переносной лампы; 30 — включатель свечи накаливания; 31 — дополнительное сопротивление; 32 — включатель стартера пускового агрегата; 33 — указатель тока; 34 — включатель света задних фар; 35 — лампа освещения щитка приборов; 36 — прерыватель указателей поворотов; 37 — предохранитель; 38 — включатель «стоп»; 39 — фонарь-указатель поворотов, габаритов и сигнала торможения; 40 — задняя фара; 41 — штепсельная розетка; 42 — фонарь номерного знака. Обозначение расцветки проводов на схеме выше.
Центральный переключатель необходим для включения габаритных огней и освещения трактора. Передние фонари используются для обозначения габаритов трактора и подачи сигналов поворота, задние фонари служат в качестве указателей габаритов, а также поворотов и сигнала торможения.
Устройство и принцип работы
Конструкция тракторных генераторов отличается высокой надёжностью, простотой конструкции и обслуживанием. Узел не имеет щёток и токосъёмных колец. Ротор 1 состоит из постоянных магнитов без обмотки. Неподвижная обмотка возбуждения 4 размещена в отдельном цилиндрическом корпусе, прикреплённом с внутренней стороны крышки узла. Электрическое поле возбуждения взаимодействует с магнитами ротора через металлическую втулку 5. Обмотка статора 2 имеет трёх, четырёх или пяти фазную конструкцию, исходя из мощности узла. Преобразование переменного тока в постоянный осуществляет диодный выпрямительный блок 19, смонтированный на внутренней стороне крышки узла. Транзисторный реле-регулятор 13 обеспечивает регулировку напряжения в пределах 14 или 28 вольт в зависимости от характеристик генератора и соответствующего напряжения сети машины. Блок регулятора размещён под внешней пластиковой задней крышкой 18. Ось ротора 1 вращается на двух шарикоподшипниках. Узел заключён металлический цилиндрический корпус и стянут винтами. Рабочий процесс генератора охлаждается крыльчаткой 7 размещённой на оси ротора.
Устройство генератора трактора 46.3701
В МТЗ 80 (82) узел размещён с правой стороны машины. Привод осуществляется одновременно с водяным насосом двигателя от шкива коленчатого вала через клиноременную передачу. Поворотом кронштейнов на оси креплений генератора осуществляют натяжение привода.
Нормальное натяжение проверяют усилием 40 Н на ветвь привода «шкив водяного насоса – шкив генератора». Прогиб ремня должен соответствовать 6-10 мм. Проскальзывание при недостаточном натяжении ремня снижает производительность генератора, чрезмерное натяжение — создаёт дополнительную нагрузку на опорных подшипниках осей узлов и провоцирует преждевременный износ.
Эксплуатация Генератора на Т-40
Для исключения поломок генератора, с установленным интегральным регулятором напряжения, перед выполнением сварочных работ отключается «масса».
Для продления срока эксплуатации генератора необходимо выполнять следующие рекомендации:
- Категорически запрещено подключать аккумуляторные клеммы в обратной полярности.
 - Нельзя выполнять запуск двигателя от стороннего источника питания напряжение, в котором больше 13 В.
 - Запрещено мыть тракторный генератор в бензине, дизельном топливе либо в других растворах, содержащих в своём составе обезжиривающие средства, а также выполнять сушку при температуре больше 85C.
 - Нельзя производить проверку на исправность генератора путём соединения выводов «массы» и регуляторов напряжения.
 - Запрещено проверять наличие тока с помощью замыкания на «массу» во время отсутствия в тракторе аккумуляторной батареи.
 
Подключение и схема
Электрическая схема генераторной установки состоит из трёх частей: цепи обмоток статора и катушки возбуждения, выпрямительного диодного моста, и подключённого к генератору регулятора с посезонным переключателем напряжения.
схема генератора 46.3701
Концы фаз статора подключены к диодным парам выпрямителя. Плюс выпрямительного блока выведен контактным болтом наружу, контакт минус подключён к корпусу узла. Дополнительные диоды выпрямителя запитывают обмотку возбуждения генератора. Плюс выпрямителя возбуждающей обмотки соединён с катушкой возбуждения и выводом узла Д. Плюсовой вывод от диодного моста выпрямителя Б соединяется одноимённым выводом регулятора . Выводом Б подключают нагрузочную сеть машины и плюсовую клемму АКБ. Минусовые выводы выпрямительного блока и регулятора соединены с корпусом генератора на массу машины. Выводы Д генератора и регулятора соединены и предназначен для подключения реле блокировки стартера. Если трактор запускается без стартера от пускового двигателя вывод Д изолируется колпачком. Вывод регулятора Ш соединён с концом обмотки возбуждения. Вывод С регулятора подключён посезонному переключателю. Для правильного подключения регулятора на узел, при установке или замене, ориентируются на выступ корпуса.
Техническое обслуживание генератора на тракторе Т-40
Спустя 120 часов работы необходимо выполнить проверку степени натяжения ремня, и в случае необходимости подтянуть его. Для этого нужно открутить гайку и переместить генератор на себя. Нормальным считается натяжения ремня, когда прогиб между коленвалом и шкивом равен 15–23 мм.

После 960 часов работы необходимо выполнить:
- Проверку на отсутствие заедания в движении щёток, которое в случае обнаружения нужно устранить в срочном порядке.
 - Замену изношенных до 15 мм щёток. Новые щётки притираются к коллектору с помощью наждачной бумаги. После этого выполняется продувка поверхности и внутренней полости коллектора.
 - В случае нагара на коллекторе – устранить его с помощью, смоченной в бензине тряпки. Если нагар не убирается, таким образом, то необходимо применить наждачную бумагу с мелкой фракцией.
 - 4. Если на коллекторе присутствует следы подгорания – необходимо снять его и отдать в ремонт высококвалифицированным специалистам. Спустя каждых 240 часов работы нужно смазывать подшипники. После начала использования генератор не нуждается в дополнительной смазке в течение 1440 часов.Содержание страницы
 
Неполадки в работе и ремонт
Работу генератора проверяют под нагрузкой, замеряя напряжение в сети. Включая электроприборы, прослеживают динамику изменения напряжения. При максимальной нагрузке значение не должно падать ниже 12,5 В.
Падение зарядного тока в сети при номинальных оборотах двигателя возникает при проскальзывании ремня привода, окислении контактов сети или их обрыве. В случае пробоя выпрямителя или межвиткового замыкания возникает разрядный ток. Большой зарядный ток свидетельствует о выходе из строя АКБ.
Генераторы описанного типа обладают высокой надёжностью и работают в условиях запылённости и повышенной вибрации. Основной причиной выхода из строя электрической части узла является износ подшипников и их посадочных мест на оси ротора. Увеличенные зазоры на опорах вращения приводят к короткому замыканию узла. При разрушении обойм подшипников металлические обломки механически повреждают обмотку возбуждения или статора, выводя узел из строя. Поэтому при эксплуатации нужно обращать внимание на состояние подшипников узла. Люфт в опорах ротора или появившийся шум при вращении сигнализирует о необходимости срочной замены подшипников. А также загрязнённость нефтепродуктами и пылью может привести к замыканию и выходу из строя диодного выпрямителя тока.
Плановую очистку генератора производят при 2 через каждые 500 часов работы машины.
Для осуществления диагностики цепей генератора демонтируют регулятор и заднюю крышку, отсоединяют выводы обмоток. Наличие короткого замыкания на корпус проверяют контрольной лампой. Целостность цепей обмоток статора и возбуждения, а также состояние выпрямителя и регулятора проверяют контрольной лампой или прозванивают прибором.
Устанавливаем температурный датчик на Granta
Как ни странно, но по какой-то причине, температурный датчик не устанавливается на отечественные автомобили. Между тем, подобная опция является распространённой, если говорить об иномарках.
Многие владельцы практически всегда пользуются ей. Исправить большинство заводских недоделок на этой модели отечественного автомобиля не так сложно. А если подобрать один из самых доступных датчиков, то вся процедура обойдётся в 250 рублей.
Ниже представлено всё, что потребуется в дальнейшем:
- гофра (3 метра);
 - провод (3 метра);
 - круглая клемма;
 - датчик;
 - 2 колодки с контактами.
 
Читать дальше: Узнать задолженность по штрафу по постановлению
Однако перед самой установкой настоятельно рекомендуется осуществить проверку возможность использования температурного датчика. Для этого выясняем, какая прошивка в данный момент установлена на бортовом компьютере.
Чтобы понять это, следует выполнить следующее. Зажимаем клавишу, которая обнуляет суточный пробег. Поворачиваем ключ зажигания, но не заводим двигатель. После того, как стрелки поднялись и опустились ещё раз кратковременно нажимаем эту же кнопку и на дисплее отразится версия прошивки.
Если она не 090, значит установка температурного датчика не имеет смысла. Либо для осуществления задуманного придётся выполнить перепрошивку бортового компьютера.
Отзывы владельцев
Основываясь на отзывах в интернете пользователей трактором Т-40, мы составили список фактов об этом сельскохозяйственном автомобиле:
- Трактор можно приобрести по выгодной цене, как бу, так и новый в магазине.
 - Продажа запчастей на эту модель осуществляется по всей России в специализированных магазинах и на рынках.
 - Шкив насоса часто выходит из строя и требует ремонта.
 - Воздушное охлаждения в трактора работает плохо.
 
Это основные четыре фактора, которые подмечают все владельцы Трактора Т-40.
Модификации
С двигателем Д-37
У базовой модели задний привод. Ее модификации выполнены с полным приводом: ➤ Т-40А – наличие переднего моста. Передний привод подключается автоматически в соответствии с условиями движения; ➤ Т-40АН – трактор адаптирован для работы на крутом склоне, высота и дорожный просвет меньше базовой версии; ➤ Т-50А – промышленная модификация, адаптирована под одноковшовый погрузчик.
С двигателем Д-144
У Т-40М задний привод, у модификаций – полный: ➤ Т-40АМ – отличие от Т-40М – передний мост с приводом; ➤ Т-40АНМ – мощный аналог Т-40АН: уменьшенный дорожный просвет для работы на крутом склоне (до 20 градусов), меньшая высота, большая устойчивость; ➤ Т-40АП – промышленная модель, адаптирована для работы с дорожной техникой.
Электрические котлы
Достаточно распространённая альтернатива газовым и твердотопливным котлам. Масса преимуществ, большой КПД, но большой срок окупаемости. Подключение простое, как и у газовых котлов, но без подвода холодной воды. Предусмотрено регулирование температуры и защита от перегрева.
Механический таймер котла
При помощи простого механического таймера электрического котла возможны три варианта запуска системы центрального отопления:
- Котёл выключен;
 - Котёл подаёт тёплую воду;
 - Котёл включается и выключается в установленное время.
 
Механические таймеры обычно имеют большой круглый циферблат с 24-часовой шкалой в центральной части. Поворачивая диск, можно установить нужное время, а затем оставить его в таком положении. Включение котла будет происходить в нужное время. Внешняя часть состоит из набора вкладок 15-минутного периода, которые вставлены для удобства регулировки работы и настройки режимов. Возможна экстренная перенастройка, которая выполняется при включённом в сеть котле.
Читать дальше: Принцип работы пружинного манометра
Механические таймеры просты в настройке, но при этом котёл всегда включается и выключается в то же время каждый день, а это может не удовлетворить хозяев, если семья большая, и банные процедуры проводятся несколько раз в день в разное время.
Генератор трактора Т-40: регулировка и схема
Трактор Т-40, Т-40А. Генератор и его техническое обслуживание
Генератор (рис. 76) служит для питания электрической энергии всех потребителей, а также подзарядки аккумуляторных батарей, установленных на тракторе.
Генератор двухполюсный, шунтового (параллельного) возбуждения, постоянного тока, закрытого исполнения с внешним обдувом.
Техническое обслуживание генератора состоит в периодической проверке надежности крепления генератора и контактных соединений.
Через каждые 120 часов работы проверьте натяжение ремня вентилятора (рис. 77), при необходимости подтяните, для чего отверните гайку 3 и, перемещая генератор на себя, произведите натяжение ремня. Нормальное натяжение считается такое, когда прогиб ремня, между шкивом вентилятора и коленчатым валом, составляет 15—22 мм при нажатии на него с усилием 4 кгс.

Рис. 76. Генератор: 
1 — крышка со стороны коллектора; 2 — винт; 3 — гайка; 4 — обойма с сальниковы м уплотнением; 5, 14 — шарикоподшипники; 6 — крыльчатка вентилятора; 7 — направляющий кожух; 8 — клемма; 9 — корпус; 10 — обмотка статора; 11 — вал якоря: 12 — винт-масленка; 13 — шкив; 16 — крышка со стороны привода; 16 — обмотка якоря; 17 ~ стяжная шпилька; 18 — коллектор.
Техническая характеристика генератора (при температуре 20 )
Номинальное напряжение в . 12
Номинальная сила тока, а . . 13
Число оборотов в минуту якоря генератора, при которых достигается напряжение 12,5 в при токе нагрузки,
равной нулю . 2100
Число оборотов в минуту якоря генератора, при которых достигается напряжение 32,5 в при токе нагрузки 13а 2500
Ток холостого хода при работе генератора в режиме двигателя и напряжении на клеммах 12в в амперах . 7
Марка щеток . ЭГ-13
Размер щетки, мм . 6,5Х 16,2X21 Сила давления на щетки щеточных
пружин, кг . 0,6—0,8
Направление вращения якоря . . . правое (если смотреть со стороны привода)

Рис. 77. Привод генератора: 
1 кронштейн генератора; 2 — натяжная планка; 3, 6, 10 — гайки; 4 — шкив генератора; 5 — клиновой ремень; 7, 9, — болты; 
8 — стопорная пластина; 11 — шпилька.
Через каждые 960 часов работы трактора проверьте:
1. Правильность и легкость движения щеток в щеткодержателе. При обнаружении заедания щеткн устраните его.
2. Износ щеток. Щетки, изношенные до 14 мм по высоте, замените новыми. Новые щетки должны быть притерты к коллектору мелкой стеклянной шкуркой. После притирки продуйте внутреннюю полость генератора и поверхность коллектора. С помощью пружинного динамометра проверьте давление щеточных пружин (оно должно находиться в пределах 0,6—0,8 кг).
3. Состояние рабочей поверхности коллектора. При обнаружении подгара на коллекторе протрите чистой тряпкой, слегка смоченной в бензине. Не смешивайте подгар коллектора, который имеет матово-черный цвет и находится у сбегающего края пластин коллектора, с политурой блестящего светло-коричневого или синеватого цвета, расположенной На всей рабочей поверхности коллектора. Зачищать политуру не следует, так как она улучшает работу щеток.
Если подгар не снимается, зачистите коллектор стеклянной бумагой. Эту операцию производите вращением генератора от руки, прижимая кусочек стеклянной бумаги к поверхности коллектора.
4. В случае большого износа или подгорания коллектора генератор снимите с двигателя и отправьте в электромастерскую для необходимого ремонта.
Через 240 часов произведите добавку смазки в подшипники. Генератор не нуждается в добавлении смазки в течение 1440 часов работы с начала его эксплуатации. Описанные выше периоды смазки относятся к дальнейшей его работе.
При смазке переднего подшипника отверните винт-масленку (вверните на место винта тюбик) и выдавите небольшое количество смазки № 158 или ЦИАТИМ-201 в отверстие передней крышки генератора. Для смазки заднего подшипника снимите направляющий кожух 7 (рис. 76), крыльчатку 6 и обойму 4 с наружным сальником. Заполните смазкой № 158 задний подшипник только наполовину, так как излишняя смазка может вызвать замасливание и подгорание коллектора. Замену смазки в генераторе производите в первый раз через 1920 часов, в последующие — через каждые 960 часов работы.
Во избежание подгорания контактов реле обратного тока запрещется при работающем генераторе производить замыкание якорной клеммы на «Массу».
Нельзя очищать генератор от пыли и грязи с помощью дизельного топлива. Во избежание разрушения щеток и деформации нажимного рычага щеткодержателя при поднятии рукой рычага щеткодержателя во время обслуживания генератора завод рекомендует изготовить сцепиальный крючок из пружинной проволоки 0 1,6 мм длиной 100 мм.
С одного конца это приспособление должно иметь петлю 0 30 мм, а с другого — отогнутый под прямым углом на величину 6 мм крючок. Петля и крючок должны находиться в одной плоскости.
Схема электрооборудования трактора Т-40. Электросхема трактора т 40 в цвете
Трактор Т-40 АМ выпускался тракторным заводом ЛТЗ (Липецкий тракторный завод) с 60-х по 90-е годы. Модель использовалась для вспахивания земель, сеноуборки, а также для транспортных работ. Тракторы ЛТЗ Т-40 АМ очень ценились за рубежом. Они славились своей долговечностью, высоким качеством сборки, совершенством конструкции и простотой обслуживания. Тракторы Т-40 АМ выпускали на экспорт под названием Т-40 А SUPER.

Описание трактора Т-40
Далее будут приведены описание и характеристика трактора Т-40. На машине есть компоновка заднего моста, на ней стоит двигатель и КП. Задние колеса большего диаметра, чем передние направляющие. Для хорошей проходимости на протекторах сделаны грунтозацепы «елочкой». Колея регулируется, поэтому машина может преодолевать дорожный просвет всех колес. Задние колеса — сменные, могут быть поставлены с меньшей шириной. Чтобы увеличить колею, задние колеса поворачивают наизнанку. Это достигается несимметричной формой дисков.
Рассмотрим устройство трактора. Липецким заводом устанавливался мотор с четырьмя цилиндрами и воздушным охлаждением. Они обладали разной мощностью. Агрегат с двигателем Д-37 имел мощность 37 л.с, а с Д-144 — 50 л.с. В качестве горючего используется дизель. Заводится машина электростартером или пусковым двигателем ПД8, работающим от бензина.

В коробке передач (КПП Т-40) с помощью механической и реверсивной силовой передачи используется весь диапазон скоростей. Причем в отличие от других типов колесных тракторов, задний ход можно использовать также с навесными орудиями.
В случае выполнения низкоскоростных работ предусмотрен гидрообъемный ходоуменьшитель. Возможности трактора увеличивают два многорежимных вала отбора мощности, управляемые независимо друг от друга.
Отличительной особенностью является интересное расположение конического редуктора и валов КПП, которые располагаются попеременно непосредственно за муфтой сцепления.
К преимуществам техники можно отнести совместимость навесного и прицепного оборудования различных классов машин, таких как: Т-25 и тяжелых моделей Беларусь. К недостаткам относится недостаточное прогревание машины в зимнее время и напряженная работа двигателя летом. Поскольку охлаждение в тракторе воздушное, в холодное время года кабина тракториста не прогревается. По этой же причине завести машину зимой трудно.
Расход топлива трактора Т-40 не всегда одинаков. Поскольку мощность двигателей на моделях отличается, соответственно, и расход топлива будет разным. Самый низкий показатель — 7,28 кг/ч. Он может увеличиваться в зависимости от сложности выполняемых работ и качества грунта.
Схема и регулировка сцепления трактора Т 40 влияют на плавное переключение коробки передач. Рассмотрим принцип работы механизма.
Сцепление Т-40 отключает связь между двигателем и коробкой передач. Такое кратковременное разъединение необходимо для быстрого переключения скоростей на коробке передач и начала движения машины. Разъединение дисков сцепления достигается выжимным подшипником. Это важная и самая уязвимая деталь, входящая в коробку передач и обеспечивающая движение машины. При износе или поломке данной детали ее сразу заменяют на новую.

Механизм состоит из муфты, представляющей собой диск с замкнутым управлением. В процессе эксплуатации изнашиваются накладки дисков, что приводит к уменьшению зазора между подшипником и концами рычагов. В результате трения может произойти поломка. Отрегулировать муфту можно с помощью тяги или болтов. В обоих случаях зазор должен оставаться в 4 мм.
Электрические котлы
Достаточно распространённая альтернатива газовым и твердотопливным котлам. Масса преимуществ, большой КПД, но большой срок окупаемости. Подключение простое, как и у газовых котлов, но без подвода холодной воды. Предусмотрено регулирование температуры и защита от перегрева.
Механический таймер котла
При помощи простого механического таймера электрического котла возможны три варианта запуска системы центрального отопления:
- Котёл выключен;
 - Котёл подаёт тёплую воду;
 - Котёл включается и выключается в установленное время.
 
Механические таймеры обычно имеют большой круглый циферблат с 24-часовой шкалой в центральной части. Поворачивая диск, можно установить нужное время, а затем оставить его в таком положении. Включение котла будет происходить в нужное время. Внешняя часть состоит из набора вкладок 15-минутного периода, которые вставлены для удобства регулировки работы и настройки режимов. Возможна экстренная перенастройка, которая выполняется при включённом в сеть котле.
Читать дальше: Как менять свечи на фольксваген поло седан
Механические таймеры просты в настройке, но при этом котёл всегда включается и выключается в то же время каждый день, а это может не удовлетворить хозяев, если семья большая, и банные процедуры проводятся несколько раз в день в разное время.
Технические характеристики Т-40
Трактор Т-40 технические характеристики имеет следующие:
- Относится к колесному типу.
 - Тяговой класс равен 0,9 т. Масса составляет 2,595 кг.
 - Кабина водителя располагается сзади, а мотор машины спереди.
 - Габариты и размер: 3660х1620х2100 мм.
 - При модели двигателя на Т 40 Д-37 — 37 л.с., что соответствует 27,2 кВт.
 - При модели двигателя Д-144 — 50 л.с., что соответствует 36,8 кВт.
 
Перечень моделей с двигателем Д-37:
- Т-40 — основная модель с задним приводом.
 - Т-40 А — трактор с полным приводом.
 - Т-40 АН — модель, предназначенная для работ на склонах. Высота и дорожный просвет уменьшены. Привод полный.
 - Т-50 А — модель для работ с одноковшевым погрузчиком.
 

Перечень моделей с двигателем Д-144:
- Трактор Т-40М — модель с задним приводом.
 - Т-40АМ — полноприводная.
 - Т-40АНМ — модель с уменьшенной высотой, предназначена для работ на склонах. Привод полный.
 - Т-40АП — предназначена для коммунальных работ. Привод полный.
 
Рассмотрим ремонт переднего моста Т-40. Передний мост повышает тягу трактора на труднопроходимой почве. Мост трактора Т-40 состоит из: подвески, раздатки, дифференциала, главной и конечной передач. Ремонт ПВМ на тракторе Т-40 заключается в замене вышедшей из строя детали на новую. Запчасти к трактору найти несложно, поэтому лучше не ремонтировать, а купить новую деталь, тем более что стоит это недорого. Если вы не знаете, как раскатить трактор, то воспользуйтесь советами опытных мастеров, выкладывающих подробные видео на эту тему.
Рулевое управление трактора Т-40 предназначено для осуществления поворота колес. Оно состоит из: рулевой колонки, колеса с валом, карданного соединения, а также гидроусилителя и сошки.

Рассмотрим схему электрооборудования Т-40. Все потребители электрической энергии подсоединены параллельно. Схема подключения электропроводки однопроводная, потребление и напряжение тока — 12 В. Данная схема действует и в тракторе Т-40М (АМ). Минусовые полюса прикреплены к корпусу трактора. Напряжение может быть подано только при включенном выключателе.

К тракторному электрооборудованию, вырабатывающему электричество, относятся модели генератора трактора Т 40 и аккумулятора (как запасной источник). Потребителями же являются фары, датчики, стартер и другие элементы. Во избежание короткого замыкания в электрических цепях установлены предохранители, а провода изолированы. Для облегчения монтажа и ремонта изоляция сделана разными цветами лент.
Электроэнергия в тракторе используется на освещение, запуск мотора, сигнализацию и пр. В систему данного оборудования включены: передние и задние фары, щиток прибора и стеклоочиститель.

Для преобразования энергии происходит вращение от двигателя к генератору. Совершается оно при помощи ремня привода. При ослаблении ремня вентилятора проводят его натяжку. Желательно через каждые 120 часов бесперебойной работы проверять натяжение. В случае необходимости отрегулируйте ремень, подтянув его и переместив генератор на себя (гайки нужно открутить).
Важная роль в данной технике принадлежит резине. Она должна быть качественной, потому что от нее зависит эффективность работы машины. При выборе шин нужно обязательно обратить внимание на грунтозацепы и расстояния между ними. Чем они выше и больше, тем лучше будет проходимость трактора.
Давление в шинах должно соответствовать следующим параметрам: передние колеса — 0,14-0,25 МПа, а задние — 0,08-0,17 МПа.
ПРОФИЛАКТИЧЕСКОЕ ОБСЛУЖИВАНИЕ ГЕНЕРАТОРА МТЗ
Генераторы, устанавливаемые на тракторы МТЗ, имеют простую и надежную конструкцию, которая позволяет им работать длительное время в тяжелых условиях, таких как запыленность, воздействие высоких температур, влаги, длительная работа на повышенных оборотах.
Систематическое профилактическое обслуживание необходимо для бесперебойной работы устройства. При обслуживании необходимо проверить состояние креплений генератора и силу натяжения приводного ремня. Прогиб ремня при усилии 3 кг/см не должен превышать 3 см, в противном случае ремень следует подтянуть. Ремень не должен иметь надрывов, трещин, и других следов повреждения.
Читать дальше: Промывочное масло для двигателя роснефть
Электрические соединения проверяются на качество крепления и отсутствие следов окисления. При наличии окисления выводных клемм следует отсоединить аккумуляторную батарею, снять клеммы с генератора и зачистить. Клеммы, которые находятся под напряжением, должны иметь защитные колпачки, исключающие воздействие факторов окружающей среды и предотвращающие короткое замыкание.
Исправность устройства проверяется при каждом пуске двигателя с помощью контрольной лампы заряда АКБ. При включении зажигания лампа должна гореть, и погаснуть, как только двигатель запущен. Допускается, что лампа гаснет только с увеличением частоты вращения коленчатого вала до 1400 оборотов в минуту, так как некоторые модели имеют частоту оборотов возбуждения выше оборотов холостого хода двигателя.
Если контрольная лампа не гаснет или измерительные приборы на панели, такие как амперметр или вольтметр, показывают разряд (для вольтметра это значения ниже 12,5 вольт), необходимо произвести диагностику генератора. Делается это только на неработающем двигателе.
Модернизация Т-40
Многие хозяева данного оборудования вносят свои коррективы и доработки. Посмотрим, как осуществляется модернизация, что они меняют в тракторе Т-40:
- педали — так как со старыми было неудобно работать, нога постоянно уставала;
 - тормоза и ручник;
 - рычаги;
 - руль;
 - ящик для ключей;
 - обшивка — переделка внутренней части кабины;
 - совершена модернизация сидения, которое можно взять с «москвича», оно довольно мягкое и удобное;
 - подножка;
 - покрышки.
 
Многие модели, выпущенные еще в 70-80-х годах, до сих пор находятся у многих в эксплуатации и отличаются особой выносливостью. Поддерживать машины в рабочем состоянии позволяет так же продолжающийся до настоящего времени выпуск запасных частей.
Тракторы, как и любое иное транспортное средство, облагаются налогом. Рассчитывается налог на трактор по следующей формуле: (количество л.с.) х (налоговая ставка в регионе). От налогообложения владельцы освобождаются, только если трактор зарегистрирован на сельхозпроизводителя или употребляется в производстве сельхозпродукции.
Эксплуатация Генератора на Т-40
Для исключения поломок генератора, с установленным интегральным регулятором напряжения, перед выполнением сварочных работ отключается «масса».
Для продления срока эксплуатации генератора необходимо выполнять следующие рекомендации:
- Категорически запрещено подключать аккумуляторные клеммы в обратной полярности.
 - Нельзя выполнять запуск двигателя от стороннего источника питания напряжение, в котором больше 13 В.
 - Запрещено мыть тракторный генератор в бензине, дизельном топливе либо в других растворах, содержащих в своём составе обезжиривающие средства, а также выполнять сушку при температуре больше 85C.
 - Нельзя производить проверку на исправность генератора путём соединения выводов «массы» и регуляторов напряжения.
 - Запрещено проверять наличие тока с помощью замыкания на «массу» во время отсутствия в тракторе аккумуляторной батареи.
 
В исправности генератора на тракторах типа Т-40 можно убедиться с помощью лампы «масса» установленной на приборной панели, которая загорается перед пуском двигателя. В случае исправного технического состояния генератора лампа затухает, после пуска двигателя.

Преимущества и недостатки
К основным преимуществам трактора Т40 относятся:
- расширенная область применяемости;
 - высокий уровень проходимости;
 - возможность открытого доступа к оборудованию задней части ТС;
 - управляемость;
 - универсальность типов подвесной техники;
 - долгий срок эксплуатации;
 - отечественные запчасти находятся в свободной продаже на рынках и в магазинах;
 - есть специальный усилитель руля;
 - большая кабина.
 
К основным недостаткам относятся:
- одним из главных минусов является то, что двигатель трактора остывает очень долго;
 - двигатель тяжело запускается в холодное время года;
 - в кабинете нет системы подогрева и кондиционирования.
 
Отзывы владельцев
Основываясь на отзывах в интернете пользователей трактором Т-40, мы составили список фактов об этом сельскохозяйственном автомобиле:
- Трактор можно приобрести по выгодной цене, как бу, так и новый в магазине.
 - Продажа запчастей на эту модель осуществляется по всей России в специализированных магазинах и на рынках.
 - Шкив насоса часто выходит из строя и требует ремонта.
 - Воздушное охлаждения в трактора работает плохо.
 
Это основные четыре фактора, которые подмечают все владельцы Трактора Т-40.
Устанавливаем температурный датчик на Granta

Как ни странно, но по какой-то причине, температурный датчик не устанавливается на отечественные автомобили. Между тем, подобная опция является распространённой, если говорить об иномарках.
Многие владельцы практически всегда пользуются ей. Исправить большинство заводских недоделок на этой модели отечественного автомобиля не так сложно. А если подобрать один из самых доступных датчиков, то вся процедура обойдётся в 250 рублей.
Ниже представлено всё, что потребуется в дальнейшем:
- гофра (3 метра);
 - провод (3 метра);
 - круглая клемма;
 - датчик;
 - 2 колодки с контактами.
 
Читать дальше: Как отличить битую машину
Однако перед самой установкой настоятельно рекомендуется осуществить проверку возможность использования температурного датчика. Для этого выясняем, какая прошивка в данный момент установлена на бортовом компьютере.
Чтобы понять это, следует выполнить следующее. Зажимаем клавишу, которая обнуляет суточный пробег. Поворачиваем ключ зажигания, но не заводим двигатель. После того, как стрелки поднялись и опустились ещё раз кратковременно нажимаем эту же кнопку и на дисплее отразится версия прошивки.
Если она не 090, значит установка температурного датчика не имеет смысла. Либо для осуществления задуманного придётся выполнить перепрошивку бортового компьютера.
Техническое обслуживание
Полная инструкция к техническому обслуживанию трактора Т-40 прилагается к нему при продаже. Оно проводится по правилам в 3 номера ТО.
- долить фильтрованное топливо в бензобаки;
 - проверить сколько моторного масла осталось в двигателе;
 - проверить и почистить вентиляторную сетку устройства.
 
- выполнить все пункты ЕТО;
 - смазать маслом крепления переднего моста;
 - обработать смазкой поворотные и приводные подшипники;
 - прочистить воздухоочиститель;
 - проверить и очистить отдельные детали трактора;
 - слить топливо из бака;
 - затянуть крепления колесного ряда.
 
- выполнить все пункты ТО-1;
 - тщательно вымыть трактор;
 - проверить масло, если нужно заменить его;
 - промазать смазкой клиновые втулки;
 - смазать смазкой генераторные подшипники;
 - топливный фильтр необходимо промыть;
 - очистить детали вентилятора;
 - отрегулировать муфты сцепления и тормоза;
 - проверить целостность электропроводов;
 - проверит герметичность деталей воздухоочистителя.
 
- выполнить все пункты ТО-2;
 - слить моторное масло и полностью промыть устройство;
 - заменить смазку генераторных подшипников;
 - промыть детали топливного насоса;
 - прочистить форсунки;
 - проверить коллекторный генератор;
 - промыть все необходимые детали.
 
Рекомендации изготовителя: для ТО вести специальную таблицу, в которой указывать информацию о проделанных работах.
Неисправности и ремонт
Рассмотрим основные проблемы, которые возникают в работе трактора Т-40 и способы их устранения своими руками:
 